Back to product listing
Manhole cover

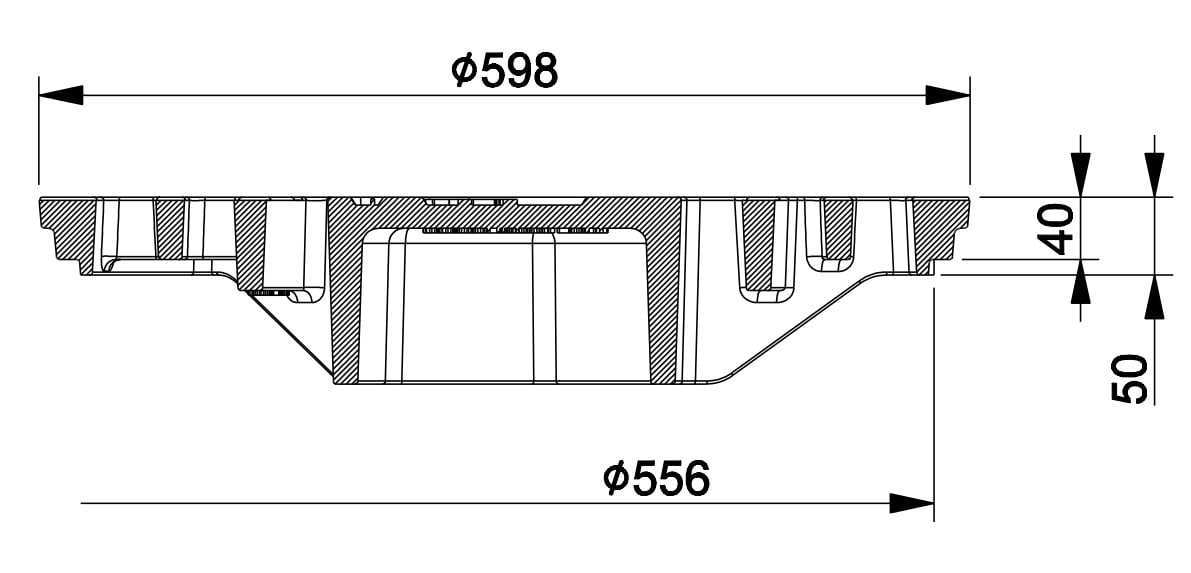
600 round grating F900

600-series F900 round grating

Specifications:
Product code:
3366169-N
Warranty:
2
Years
Product category:
District heating, Normal
Market:
Estonia, Finland, Latvia, Norway, Sweden
Product type:
Grate
Locking mechanism:
————
EN load class:
F900
Weight:
67
kg
Width:
————
mm
Max height:
120
mm
Seating depth:
40
mm
Lenght:
————
mm
Frame opening:
————
mm
Pipe fit outer diameter:
————
mM
Fit together:
————
Product set:
————
Material marks:
Ductile EN-GJS-500/7
Contact sales