Product range
Manhole cover
500 frame E600
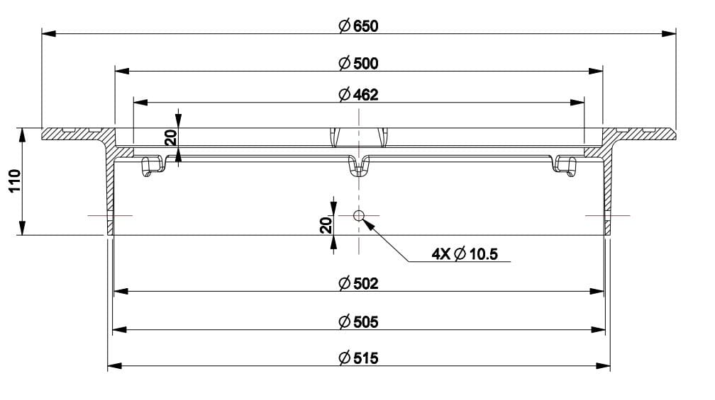
500-series E600 round frame 3366031D-N is compatible with a round blind cover 3366032D-N and grating 3366033D-N. The frame is designed for Nordic conditions, in accordance with standard EN 124-2:2015, manufactured from ductile iron EN-GJS-500/7 and is classified under Load Class E600.
The frame is compatible with 500 mm telescope pipe.
Typical applications are service stations, industrial buildings, heavy vehicle car parks, public roads.



