Tootevalik
Kaevuluuk
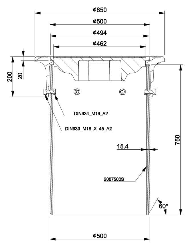
500 HD SN2 teleskoobikomplekt umbuugiga
500-seeria HD teleskoobikomplekt 2005058C koosneb ujuvast ümmargusest kaevukaanest 3366145/2-N, DN500 x 15,3mm x 0,75m SN2 teleskooptorust ning M16 poldidest ja mutritest. Komplekt on sobiv Põhjamaade tingimustesse, vastavab standardile EN 124-2:2015. Raam ja luuk on valmistatud hallmalmist EN-GJL-200 ja klassifitseerub koormusklassi D400 alla, toru on PE-st ning poldid ja mutrid A2 roostevabast terasest.
Luugi saab avada magnettõstja CW1600 või avamistööriista 2004001 abil.
Tüüpilised kasutusalad on suure liiklusintensiivsusega avalikud teed, tänavad ja parklad.


