Product range
Manhole cover
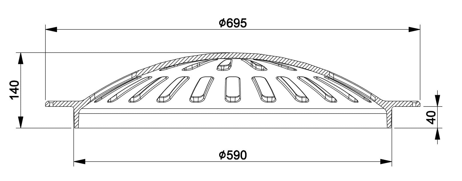
600 Cupola
600-series Cupola 3366013-N is compatible with floating, round frames 3366076-N and 3366005-N. It can also be installed directly on a suitable pipe or chamber. The cupola is designed for Nordic conditions and manufactured from grey cast iron EN-GJL-200. Cupolas are not classified according to EN-standard.
Typical applications are green areas.

